רוחב מינימלי במבנה
רוחב
תקנות חוק תכנון ובניה מפרטות את מימדי השטח, הגובה והרוחב המינימלים על פי רוב
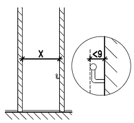
רוחב הינו המימד הקצר משני מימדי השטח
רוחב מינימלי במבנה -
הרוחב בשטח המינימלי הנדרש שבו מתקיים גם הגובה המינימלי לאותה פונקציה. במילים אחרות, שטח עודף על הגודל המינימלי, ניתן שרוחבו יהיו קטן מהמינימום.
רוחב נמדד נטו בין גמר וחיפויים בגובה 120 ס”מ מרצפת החלל.

שימו לב!
בליטה עד 9 ס“מ (מעקות, מאחזי יד, ידיות וכד‘) אינה נחשבת הפרעה לרוחב

רוחב מינימלי במבנה למגורים
חדר מגורים 260 ס“מ (ובשטחו המינימאלי 8 מ”ר)
חצי חדר מגורים 200 ס“מ (ובשטחו המינימלי 6 מ”ר)


מטבח במ גורים 170 ס“מ
חדר רחצה עם אמבטיה במגורים 145 ס“מ


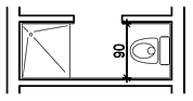
חדר רחצה עם אסלה ומקלחת במגורים 90 ס“מ (ובשטחו המינימלי 1.8 מ”ר)
מקלחון במגורים 70 ס“מ


תא שירותים 80 ס“מ
מגורים 90 ס“מ *
מוסד ציבורי 130 ס“מ
דיור מוגן 150 ס”מ
בית אבות 180 ס”מ
משרד 100 ס“מ
רוחב פרוזדור -

*בתנאי שאורכו עד 15 מטרים ואינו מול ממ”ד. פרוזדור נ גיש במגורים הינו 110 ס”מ רוחב

חדר מגורים במבנה יביל 220 ס”מ
רוחב מדרגות

בתוך דירה (או צמוד קרקע) – רוחבן של מדרגות יהיה 80 ס”מ לפחות

בחדר מדרגות מוגן - רוחב המדרגות יהיה 110 ס”מ לפחות
רוחב מינימלי במבנה שאינו מגורים
מעב ר חופשי במטבח בית אוכל 150 ס“מ


מקלחון במלון 90 ס“מ
בתצוגה עם עגלות, ישמר מרווח שירות 165 ס“מ
מרווח בין טורי תצוגה ללא עגלת שירות 110 ס“מ


מרווח פנוי מול מעלית לאורך ורוחב הפיר 150 ס”מ
