הוראות ותקנות קבועות הסניטריה במבנה ציבור ומגורים
מתקני תברואה (הל"ת)
.png)
מושגים בסיסיים
מיתקן תברואה - כל מערכת לאספקת מים על מרכיביה, קבועות שרברבות ומחסומים, מערכות נקזים לצואים, לדלוחים ולאיוורור, מערכות ביבים, מערכות סילוק מי גשם, ציוד לטיפול במים ולאגירת מים, ציוד צורך מים לרבות בריכות שחיה, מערכות חימום במים, מערכות מים לכיבוי אש.
קבועה (קבועה סני טרית) - אביזר מותקן ומקובע המשמש במערכת אספקת או ניקוז המים. נקראת גם ’קבועת שרברבות‘, אביזר לבן‘. קבועה תותקן בצורה המאפשרת גישה נוחה לניקוי, תחזוקה וסביבתה אטימה למים.
מי דלוחין - מים מלוכלכים שאינם מכילים מוצקים והפרשות אדם. בד“כ המים המונוקזים מהמטבח, מכונת כביסה והמקלחת. נקראים גם 'מים אפורים'
מי שופכין - מים מלוכלכים המכילים מוצקים. בדר“כ המים שמנוקזים מקבועות השירותים (אסלה).
צינור אויר (איוור)- צינור המזדקף עד מעבר לגג והמשמש מוצא לאדים (גזים) ואוויר מזוהם מחדרי השירות וחדרים אחרים בבניין.
*ברשימת המושגים המלאה, תפגשו מושגים קצת מבלבלים כמו ק"י - הכוונה לקבועה.
ההסבר היותר מפורט מתיחס לכמות ספיקתה של כל יחידת קבועה שהיא 1 ליטר לשנייה.
סידורי תברואה מינימלים בכל יחידת מגורים :
-
אסלה
-
כיור רחצה
-
מקלחת
-
כיור מטבח
-
הכנה למכונת כביסה

כמו כן, בכל יחידת מגורים חובה לספק מים חמים וקרים בטמפרטורה לפי תקן
אין לחסום צינור אויר משותף בשום קומה לאורכו, גם אם לא משמש את יחידת הדיור בה עובר !
גזים

מי שופכין
-
לכל קו ניקוז אנכי במבנה (6'') יחוברו עד 2 אסלות (6 ליטר)

מרחב שימוש
למרחב השימוש מוגדרים רוחב (W) ואורך (L)

W = רוחב מרחב השימוש – המידה הניצבת לקבועה ונושקת מהמישור האנכי שלה.
קבועה מותקנת במשטח, יימדדו רוחב מרחב השימוש מהמישור האנכי של קצה המשטח או חומר הגמר

L = אורך מרחב השימוש – נמדד במקביל לקיר שמאחורי הקבועה ומרכזה מתלכד עם מידת האורך.

הערכים מתיחסים למידה נטו בין גמר וחיפויים
בחדרי שירותים עבור משתמש יחיד, ניתן לבצע חפיפה במרחבי שימוש של קבועות שונות
כיור רחצה בודד עד 60 ס”מ

כיור רחצה בודד מעל 60 ס"מ-
L = אורך הכיור בתוספת 20 ס"מ מכל צד

כיור רחצה קטן לנטילת ידיים בחדר אסלה

כיור רחצה כפול
L = אורך הכיור בתוספת 20 ס"מ מכל צד

כיור מטבח

כיור מטבח שאורכו מעל 60 ס"מ
L = אורך הכיור בתוספת 20 ס"מ מכל צד

כיור מטבח כפול
L = אורך הכיור בתוספת 20 ס"מ מכל צד


מקלחון פתח פינתי

אמבט

מקלחון פתח חזיתי
אסלה או בידה

בחדרי שירותים ציבוריים, אין להתקין קבועות תוך חפיפה של מרחב השימוש

*כיור רחצה בשורת כיורים שרוחבו מעל 60 ס”מ
L = אורך הכיור בתוספת 20 ס"מ מכל צד.
120 = W

משתנה ציבורית בודדת

משתנה ציבורית בשורה
מה ההבדל בין מרחב למרווח?
מרחב שימוש - מימדי אורך ורוחב מינימלים מכל סוג קבועה, שבשטחו אין לתכנן, להתקין או לקבע דבר. מרחב זה מאפשר שימוש סביר בייעוד הקבועה.
מרווח שימוש -מרווח בין הקבועות שמאפשר שימוש סביר בייעוד הקבועה, צנרת ונקודות ביקורת
C - המרווח נמדד
מציר הקבועה (מרכז הקבועה)
F - המרווח האנכי נמדד מפני גמר הקבועה או הקיר


מרווחים (מרחקים) מינימלים בין קבועות
ובין קבועות לגמר קיר
*ביחס ל 60 סמ רוחב

בין כיור רחצה קטן מ 60 ס"מ לבין גמר קיר

בין אסלה / בידה / משתנה לבין גמר קיר
אם על הקיר מותקן כיור רחצה, יוגדל המרחק הרשום בטבלה ל- 45 ס"מ.
בין אסלה / בידה / משתנה לבין כיור קטן מאונך

בין כיור רחצה גדול מ 60 ס"מ לבין גמר קיר, יתווסף ההפרש שבין מידת מחצית רוחב הכיור ל 30 ס"מ

בין אסלה / בידה / משתנה לבין כיור

בין אסלה / בידה / משתנה לבין כיור גדול מאונך -יתווסף ההפרש שבין מידת מחצית רוחב הכיור ל 30 ס"מ

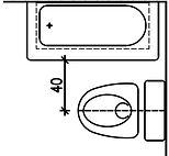
בין אסלה / בידה / משתנה לבין מקלחת (בהיעד תחימה פיזית) יש להתיחס למידות מינימום רוחב ושטח (70 ס”מ רוחב, 0.65 מ”ר שטח) ראה פרקים רוחב ושטח


בין אסלה לבידה

בין אסלה / בידה / משתנה לבין אמבט
רום שפת קבועה
(גובה פני הקבועה מומלץ על פי טיוטת ת.י 1205 חלק 3)
הגובה נמדד מפני גמר רצפה
פני כיור רחצה

פני כיור מטבח

פני מושב אסלה

פני משתנה

רום פני אמבט (זכרו, תמיד נמדד מגמר ריצוף)

מרווח אויר
מערכת מי שתיה תוגן בפני זרימה חוזרת על ידי שמירת מרווח אויר מינימלי בין קצה המוצא שממנו זורמים המים (קצה פי הברז) ושפת הקיבול המקסימלית של הקבועה

אמבט 40 מ"מ

כיור רחצה 25 מ"מ

כיור מטבח או כביסה 40 מ"מ
